平成26年度(第49回)理学療法士国家試験問題
第49回国家試験 午前1
関節可動域測定法(日本整形外科学会、日本リハビリテーション医学会基準による)で誤っているのはどれか。

第49回国家試験 午前2
Daniels らの徒手筋力テストで三角筋後部線維のテストとして正しいのはどれか。

第49回国家試験 午前3
70歳の女性。右利き。脳梗塞を発症し搬送された。発症後2か月の頭部MRIを下図に示す。
この画像で認められる脳梗塞の部位はどれか。

第49回国家試験 午前4
70歳の女性。右利き。脳梗塞を発症し搬送された。発症後2か月の頭部MRIを下図に示す。
現時点で最も出現しやすい症状はどれか。

第49回国家試験 午前5
45歳の男性。脳出血による左片麻痺。Brunnstrom法ステージは上肢Ⅱ、下肢Ⅲ。感覚障害は中等度。非麻痺側機能はおおむね良好。裸足での歩行は可能であるが、安定性が低下し速度も遅い。麻痺側の遊脚相で分回し歩行と強い内反尖足が出現する。立脚中期の膝ロッキングがみられる。
この患者に適した装具はどれか。
第49回国家試験 午前6
80歳の男性。脳梗塞による右片麻痺。Brunnstrom 法ステージは上肢、手指、下肢ともにⅢ。右短下肢装具を装着し1本杖歩行は15mまでは可能である。12段の階段昇降は可能であるが、そばで見守る必要がある。
歩行と階段のFIMの点数の組合せで正しいのはどれか。
第49回国家試験 午前7
72歳の女性。右中大脳動脈領域の脳梗塞による左片麻痺。立位時に左下肢の外旋と足部内反が著明であり、歩行時に装具を装着している。
最も適応となりにくいのはどれか。
第49回国家試験 午前8
45歳の女性。脊髄小脳変性症。ADLは自立している。独歩は可能で、会社へは電車で通勤している。最近ふらつきが多くなり、ときに転倒することがあるという。
この患者に指導する内容として適切なのはどれか。
第49回国家試験 午前9
5歳の男児。アテトーゼ型四肢麻痺。未定頸で体幹のコントロールは悪く、自力での寝返りと座位保持はできない。臥位姿勢では、下肢のはさみ肢位を伴う後弓姿勢がしばしばみられ、緊張性頸反射と緊張性迷路反射は残存している。
この児に座位保持装置を作製する際に必要な調整で誤っているのはどれか。
第49回国家試験 午前10
9歳の男児。Duchenne型筋ジストロフィー。独歩は可能だが、腹部を突き出し両肩を左右に振る動揺歩行と内反尖足とが顕著である。床からの立ち上がり動作では登はん性起立を示し、柱などにつかまればかろうじて立ち上がることができる。上肢に拘縮はなく、ゆっくりであるが両上肢を挙上することができる。
この時期に行う理学療法士の対応で優先度が高いのはどれか。
第49回国家試験 午前11
68歳の男性。歩行中に転倒して歩けなくなり救急搬送された。上下肢に麻痺を認めたが骨傷はみられず、中心性頸髄損傷の診断を受けた。受傷5日後のADLは全介助であった。
6か月後にFIMでADLを評価したときに、最も自立度が低いと予想される項目はどれか。
第49回国家試験 午前12
24歳の男性。バイクに乗っていて乗用車と衝突し救急搬送された。頸椎脱臼骨折の診断で手術を受けた。
MMTの結果を表に示す。機能残存レベルはどれか。

第49回国家試験 午前13
10歳の女児。 1か月ほど前から運動後に膝の痛みを訴え、膝脛骨結節部に圧痛があった。単純エックス線写真を下図に示す。
最も考えられるのはどれか。

第49回国家試験 午前14
10歳の女児。 1か月ほど前から運動後に膝の痛みを訴え、膝脛骨結節部に圧痛があった。単純エックス線写真を下図に示す。
運動後以外には膝の痛みの訴えはなかった。
正しい対応はどれか。
第49回国家試験 午前15
右股関節の可動域を下表に示す。
予想される歩行時の特徴はどれか。

第49回国家試験 午前16
大腿切断者の移動動作を図に示す。
適切でないのはどれか。

第49回国家試験 午前17
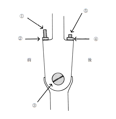
背屈0~20°の範囲で自由に可動するように設定されている足継手を図に示す。
この継手を、背屈5~20°で可動するように再調整する場合に、最初に動かすのはどれか。

第49回国家試験 午前18
55歳の男性。搬送された病院で急性心筋梗塞と診断された。初期治療として、左冠動脈に対して経皮的冠動脈形成術が施行された。発症後1か月の検査所見では右冠動脈に75%の狭窄が認められ、心肺運動負荷試験中に胸部不快感が認められた。
心肺運動負荷試験の結果に基づいて運動処方をする際に最も参考にすべき指標はどれか。
第49回国家試験 午前19
運動中のモニター心電図を下図に示す。
心拍数が75/分以上100/分未満であるものはどれか。

第49回国家試験 午前20
図のように、棒の先に7kg重の錘を付けた。
このときのAにかかるトルクはどれか。ただし、棒の重量は無視できるものとする。
